|
阀类
|
传动方式
|
连结形式
|
结构形式
|
密封面
|
公称压力(MPa)
|
阀体材料
|
|
球阀
|
6-气动
6s-气动带手动 |
法兰式
|
浮动球直通
|
F-氟塑料
H-合金钢 PPL |
1.6
2.5 4.0 6.4 |
按表内阀体
材料代号 |
|
公称通径DN(mm)
|
15-250
|
|||||
|
材料\材料代号
|
C
|
P
|
R
|
|||
|
主
要 零 件 |
阀体
|
WCB
|
ZG1Cr18Ni9Ti
|
ZG1Cr18Ni12Mo2Ti
|
||
|
球芯
|
WCB
|
1Cr18Ni9Ti
|
1Cr18Ni12MoTi
|
|||
|
阀杆
|
2Cr13
|
1Cr18Ni9Ti
|
1Cr18Ni12MoTi
|
|||
|
密封圈
|
增强聚四氟乙烯对位聚笨
|
|||||
|
填料
|
聚四氟乙烯柔性石墨
|
|||||
|
适
用 工 况 |
适用介质
|
水、蒸汽、油品
|
硝酸类
|
醋酸类
|
||
|
适用温度
|
-28℃~300℃
|
|||||
|
控制型式
|
双作用/单作用
|
|||||
|
作用型式
|
切断/调节
|
|||||
|
输入信号
|
电信号:0~10mA、-4~10mA 气信号20~100kPa
|
|||||
|
回信电压
|
AC220V/DC24V
|
|||||
|
工作介质
|
净化压缩压气
|
|||||
|
执行器
|
型号
|
GT系列、HY系列、AW系列、ZSH系列
|
||||
|
气源压力
|
0.4~0.7MPa
|
|||||

|
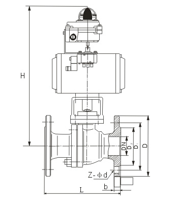
公称通径DN(mm)
|
尺寸(mm)
|
执行器型号
|
||||||||||||||||
|
1.6MPa
|
2.5MPa
|
H
|
4.0MPa
|
|||||||||||||||
|
L
|
D
|
D1
|
B
|
Z-D
|
L
|
D
|
D1
|
B
|
Z-D
|
L
|
D
|
D1
|
B
|
Z-D
|
H
|
|||
|
15
|
130
|
95
|
65
|
14
|
4-14
|
130
|
95
|
65
|
16
|
4-14
|
200
|
130
|
95
|
65
|
16
|
4-14
|
200
|
可选配GTD/GTE、
AW/AWS、HY、 ZSH系列执行器 (以上选配仅供参 选具体选用根据实 际要求) |
|
20
|
130
|
105
|
75
|
14
|
4-14
|
130
|
105
|
75
|
16
|
4-14
|
204
|
150
|
105
|
75
|
16
|
4-14
|
204
|
|
|
25
|
140
|
115
|
85
|
14
|
4-14
|
140
|
115
|
85
|
16
|
4-14
|
215
|
160
|
115
|
85
|
16
|
4-14
|
210
|
|
|
32
|
165
|
135
|
100
|
16
|
4-18
|
165
|
135
|
100
|
18
|
4-18
|
240
|
180
|
135
|
1 00
|
18
|
4-18
|
240
|
|
|
40
|
165
|
145
|
110
|
16
|
4-18
|
165
|
145
|
110
|
18
|
4-18
|
264
|
200
|
145
|
110
|
18
|
4-18
|
264
|
|
|
50
|
203
|
160
|
125
|
16
|
4-18
|
203
|
160
|
125
|
20
|
4-18
|
274
|
230
|
160
|
125
|
20
|
4-18
|
360
|
|
|
65
|
22 2
|
180
|
145
|
18
|
4-18
|
222
|
180
|
145
|
22
|
8-18
|
379
|
290
|
180
|
145
|
22
|
8-18
|
390
|
|
|
80
|
241
|
195
|
160
|
20
|
8-18
|
241
|
195
|
160
|
22
|
8-18
|
389
|
310
|
195
|
160
|
22
|
8-18
|
450
|
|
|
100
|
305
|
215
|
180
|
20
|
8-18
|
305
|
230
|
190
|
24
|
8-23
|
416
|
350
|
230
|
190
|
24
|
8-23
|
480
|
|
|
125
|
356
|
245
|
210
|
22
|
8-18
|
356
|
270
|
220
|
28
|
8-25
|
542
|
400
|
270
|
220
|
28
|
8-25
|
650
|
|
|
150
|
394
|
280
|
240
|
24
|
8-23
|
394
|
300
|
250
|
30
|
8-25
|
572
|
480
|
300
|
250
|
30
|
8-25
|
670
|
|
|
200
|
457
|
335
|
295
|
26
|
12-23
|
457
|
360
|
310
|
34
|
12-25
|
600
|
600
|
375
|
320
|
38
|
12-30
|
720
|
|