袋式过滤系统的原理
袋式过滤机是一种新型的过滤系统,滤机内部由金属内网支撑着滤袋,液体由入口流进,经滤袋过滤后流出,杂质则被拦截在滤袋中,滤袋可更换或清洗后继续使用。
袋式过滤系统的优势
过滤精度高,目前已高达0.5μm;滤袋侧漏(By Pass)机率较小,有力地保证了过滤品质,而滤芯的侧漏机会则较大,n支滤芯的侧漏机会达到了2n个!
滤袋的过滤处理量大,一个4号滤袋的处理能力等同于8支10”滤芯的处理能力,一个1号滤袋等同于12支10”滤芯,一个2号滤袋等同于21支10”滤芯。无论从成本或效率的角度考虑,滤袋都优于滤芯。
由于袋式过滤系统科学的工作原理和设计结构,滤机免清洗,更换滤袋可在30秒内完成,方便快捷,省工省时。
滤袋材质多样,适用范围广。针对不同液体过滤,有聚丙烯Polypropylene、聚酯Polyester、尼龙Nylon*、聚四氟乙烯PTFE、Nomex*、活性碳等多种材质供选择,还可提供具有吸油功能的吸油袋。
滤机规格齐全,材质多样。单袋式滤机,从大到小有2号机、1号机和4号机,多袋式滤机,最多可提供24袋滤机,满足不同流量的过滤要求。滤机材质包括不锈钢304、不锈钢316L、塑胶(包括聚丙烯、聚酯和聚四氟乙烯等材质)。新瑞都公司既可提供标准型滤机,亦可提供专门针对特殊应用而设计的非标滤机。新瑞都过滤产品,既可胜任普通液体的过滤,亦可应用于食品,卫生和制药等行业,在强腐蚀性的苛刻应用环境中同样游刃有余。
产品简介
SBD系列袋式过滤器主要由滤袋、滤框、壳体三部分组成一个简便、高效、经济的过滤系统,待物料由上进入滤袋,杂质被截留在袋内,从而得到干净的流体。由于其操作方便、成本低廉、处理量大、过滤精度高,因而被广泛应用于石油化工产品、油漆、食品、饮料、污水等方面的过滤。
SBD系列袋式过滤器适用于任何细微颗粒(<1000ppm)的过滤,精度范围可从1至1000μm,处理从1至1000m3/h的液体过滤。
型号标注

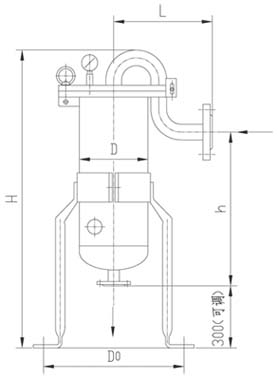
单袋式过滤器

SBD-M多袋式过滤器
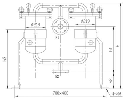
SBD-H并联式袋式过滤器
